全新一代路虎揽胜4月21日上市;全新思域TYPE R今夏首发
2022年04月13 09:51 来源:蜀锦传媒新车资讯:全新一代路虎揽胜将于4月21日中国上市;全新思域TYPE R将于2022年夏季全球首发;五菱佳辰正式下线,将于二季度内上市;林肯全新纯电动概念车将于4月21日首发;几何E将于二季度内上市,定位小型SUV;荣威鲸将于4月19日上市。
行业资讯:丰田发布遛狗机器人专利;日产计划2028年实现固态电池大规模量产;比亚迪抚州产业园即将开业,将生产海鸥;奔驰称2030年前实现乘用车碳排放减半。
01
日前,路虎中国官方宣布,新一代揽胜将于4月21日在中国市场正式上市。可见原计划2022北京车展期间上市的新一代揽胜并未受到车展延期影响,官方此前曾公布了两款特别版车型的预售价,分别为209.88万元与251.88万元。
——揽胜的气场远胜于奔驰GLS、宝马X7一流。
02
近日,本田官方宣布旗下全新本田思域TYPE R车型将于2022年夏季全球首发。此前,新车的原型车已经在2022东京改装车展上亮相,而前不久官方称该车型又以2分23秒120的成绩刷新了日本铃鹿赛道前驱量产车型的单圈最快记录。据悉,新车将于2022年年底引入国内。
——可能80%的销量会在广东。
03
4月12日,随着一辆五菱佳辰驶下生产线,也代表这款车正式迎来批量生产。新车定位于一款7座MPV,并将搭载1.5T+CVT动力总成。同时,根据此前信息来看,新车将在二季度内上市销售。车身尺寸方面,新车长宽高分别为4785/1820/1760mm,轴距为2760mm。
——这车出了,宝骏730还卖吗?
04
日前,林肯官方海外社交账号发布预告片,宣布全新纯电动概念车将于当地时间4月20日22:00(北京时间4月21日)全球首发。值得一提的是,这款概念车的量产版将是林肯品牌首款纯电动车型。
——据悉以后林肯车的设计都将沿袭此概念车的设计。
05
4月12日,我们从相关渠道了解到,吉利几何旗下全新小型SUV——几何E将于二季度内上市。根据此前信息来看,新车将基于吉利4.0超级智慧工厂生产制造。车身尺寸方面,新车的长宽高分别为4006/1765/1550mm,轴距为2485mm。
——几何C挺好,几何E感觉有点敷衍了。
06
4月12日,我们从官方了解到,荣威品牌旗下全新紧凑型SUV——鲸将于4月19日正式上市。新车已于此前开启预售,新车共推出3款配置车型,其预售区间为16.68-19.28万元。车身尺寸方面,新车长宽高分别为4702/1903/1691mm,轴距2765mm。动力方面,根据此前的申报图信息,新车将会搭载2.0T涡轮增压发动机,最大功率170kW(231马力)。
——这设计有点奇怪。
07
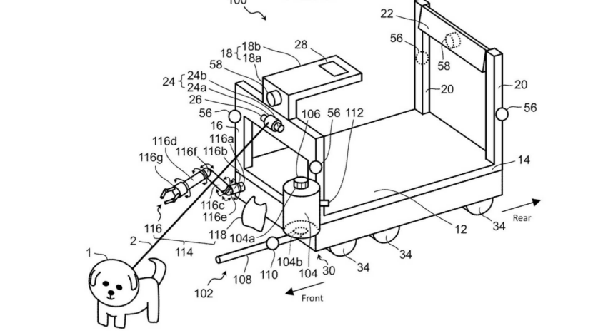
日前,丰田发布了一款全新专利,出乎意料的是,这款专利并非专注于传统汽车市场,而是一款“破圈”产品——帮助你解决遛狗难题的机器人。首先,该款机器人配有可伸缩的牵引线,同时,机器人周身集成了传感器。当我们不得不在车辆较多的路段遛狗时,它可以保护狗狗不受到往来车辆的伤害。当狗狗小便时,它会通过喷雾器将尿液清洗干净;当狗狗大便时,它还可以自动收集便便。
——这个发明很日本,毕竟日本人老是发明一些看似有用,实际没用的东西。
08
据外媒报道,日产固态电池研发团队正在克服固态电池带来的挑战。如果一切按计划进行,日产将在2028年实现固态电池的大规模生产。
——2028年?有点晚了吧,别家的固态电池在2025年前恐怕就量产了。
09
日前,我们从国内社交媒体获悉,比亚迪抚州产业园将于4月15日正式开始整车批量生产,这也是比亚迪在国内的第五个整车基地。新能源汽车产业园整车项目规划投产车型分别为元、e2、e3以及EQ系列车型。其中EQ系列车型或为比亚迪海鸥,该车定位将低于比亚迪海豚,预计将在6-7月份左右亮相。
——比亚迪开始扩张了。
10
4月11日晚间,梅赛德斯-奔驰集团股份公司举办面向投资人及分析师的首届ESG(环境、社会与公司治理)论坛,公布降低碳排放的具体落地措施。公司的目标是:到2030年,每辆乘用车全生命周期碳排放量较2020年平均减少50%。为此梅赛德斯-奔驰采取一系列关键举措,包括产品阵容电动化、充电能源绿色化、电池技术升级,在生产过程中广泛采用循环材料及可再生能源等。公司计划,到2030年,通过在各大生产基地推广使用太阳能和风能,并通过《购电协议》购买额外能源,旨在以可再生能源满足70%以上的需求。
——奔驰在中国很受欢迎,但奔驰的电动车可一点儿都不。



























